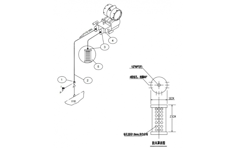
为减少外界气流和环境波动对微差压变送器测量精度的影响,可以在微差压变送器负压侧取压口处安装一段向下的引压管并安装防风罩,以下是防风罩在微差压变送器上的安装示意图:
2025-08-06 MK体育在线注册,MK体育(中国)
WAX-C320系列变送器基础知识分享
2023-06-13 MK体育在线注册,MK体育(中国)
德尔塔巴流量计流量指示不准,无指示的故障处理
2022-04-01 MK体育在线注册,MK体育(中国)